在安裝臥式離心泵之前,應進行以下重新檢查; 地基的大小,位置和標高應符合設計要求; 設備不應缺少零件,損壞或腐蝕等,并且噴嘴保護和阻塞蓋應完好無損; 曲柄應靈活自由堵塞,卡死現象,無異常聲音。
出廠前已組裝并調試過的零件不應隨意拆卸。
保證離心泵的安裝位置水平。
臥式離心泵的地基高度應高于地面,以方便泵的安裝,且高度應不小于0.1m。 將臥式離心泵運送到指定位置后,將設備吊起并安裝,將其準確地定位在已完成的設備基礎上,然后用螺母套上地腳螺栓,將墊片放在底座下,并用水平尺,首先將地腳螺栓調平。混凝土倒入里面。
凝土過期后,將其調平并擰緊地腳螺栓蓋。 每組角鐵均通過點焊固定,地基表面粗糙,用水沖洗并用水泥砂漿抹平。
管道安裝應滿足以下要求:
1.應清潔管道的內部和末端,不得損壞密封表面和螺紋,法蘭端面或互連的螺紋軸線應平行且居中,不得強行連接。管道的重量不應增加泵的重量,而應有其自身的支撐。
2.管道連接到泵后,不得對其進行焊接和氣割。如果需要焊接或氣割,則應拆除管道或采取必要措施以防止焊渣進入泵并損壞泵部件。
安裝完成后,轉動泵軸和葉輪時應該沒有摩擦或卡住。否則,應拆卸泵以檢查原因。
3.應根據設備數據和設計圖紙重新檢查管道的配置。
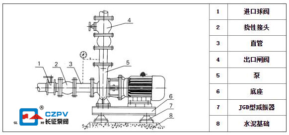
4.每個臥式離心泵的出水管上應安裝閥門,止回閥和壓力表; 當泵直接從室外供水網絡中抽水時,應在吸水管上安裝閥門,止回閥和壓力表,并應將泵旁通。設置一個裝有閥的旁通管。
臥式離心泵的隔振與降噪:在水泵的進出水管上應安裝撓性橡膠接頭或波紋管金屬接頭。管道支架應采用彈性吊架和彈性支架。為了產生良好的隔振效果,必須設置基礎隔振,管道隔振和支座隔振。必須根據計算結果和安裝選擇防震墊(減震器)的面積,層數,數量,型號以及撓性接頭的型號和數量。減震器的參數,例如型號,定位尺寸和選件數量,與泵的穩定性和阻尼效果直接相關。 該參數的確定必須由專業技術人員的準確計算來確認。
應采取措施防止固體聲在泵壓過墻壁和地板的地方傳播。
臥式離心泵調試要點
在確保電氣控制的安全性,靈敏度和可靠性的前提下,對泵進行了單機測試。
關閉臥式離心泵出口管上的閥,然后在泵開始運行時逐漸將其打開,并檢查是否異常,電動機的溫度升高,臥式離心泵的運行情況,壓力表的值以及密封性 接口的要求。
以上是上海長征泵閥對臥式離心泵的施工安裝方法進行的簡要總結。


TSWA型臥式多級離心泵
LG、LG-B型-多級立式不銹鋼礦用多級離心泵
D型不銹鋼多級臥式離心泵
